6. Случаи аварийного останова насосных агрегатов.
Насосный агрегат необходимо немедленно отключить ключом управления или аварийной кнопкой в следующих случаях:
- при появлении дыма, искр, пламени из подшипников агрегата или корпуса электродвигателя;
- при появлении внезапной сильной вибрации как самого агрегата, так и трубопроводов;
- при запаривании насоса (помпажный режим);
- при резком повышении температуры подшипников выше 80ºС (рука не терпит);
- при больших порывах трубопроводов на всасе или на напоре;
- при снижении уровня в аванкамере ниже допустимого, если все принимаемые меры не привели к его повышению;
- при резком падении давления на напоре насоса и постороннем шуме в корпусе;
- при возникновении непосредственной угрозы жизни персонала, оборудованию или при несчастном случае, связанным с работой насоса.
7. Струйный насос (инжектор).
7.1 Водоструйный инжектор, установленный в здании ОНС, предназначен для откачивания дренажных вод из приямка.
7.2 Инжектор отличается от всех рассмотренных выше насосов тем, что у него нет подвижных частей, а рабочим органом является сама жидкость, которая подводится под напором к соплу эжектора и выбрасывается из сопла в камеру смешения с большой скоростью, увлекая подсасываемую в нее перекачиваемую жидкость (дренажную воду), передавая ей часть своей энергии.
7.3 На сопло, как правило, подается чистая вода с большим давлением, а перекачиваемая вода может быть грязной, и даже с песком. В нашем случае вода подается из пожарного водовода.
7.4 Инжектор состоит (см. рис.1) из трубопровода – 1, по которому подводится силовая вода,
сопла – 2, камеры смешения – 3, сужающегося сопла камеры смешения – 4, диффузора – 5 и трубопровода всаса перекачиваемой дренажной воды из приямка– 6.
![]() |
7.5 Камера смешения является основным элементом эжектора. В ней происходит преобразование энергии жидкости, подаваемой в сопло. Чем больше давление этой жидкости, тем больше производительность эжектора.
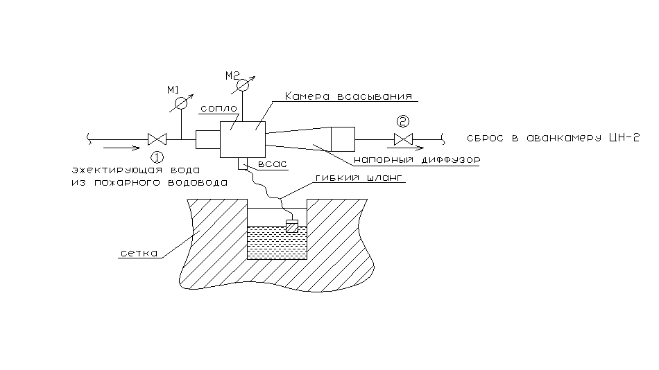
7.6 В здании ОНС установлен один эжектор, постоянно находящийся в работе. Силовая вода из пожарного водовода через задвижку №1 (см. рис. 2) подается к эжектору и с напорного диффузора через задвижку №2 сбрасывается в аванкамеру циркуляционного насоса №2.
![]() |

7.7 Пуск эжектора производится путем открытия задвижки №2 после проверки сетки на чистоту, затем №1 на трубопроводе пожарной воды при давлении не более 6 кгс/см2. В это время необходимо контролировать разрежение во всасывающей камере по мановакууметру №2 и подачу силовой воды по манометру №1. Останов эжектора производится в обратной последовательности.
7.8 Если эжектор не откачивает воду, то необходимо:
а) закрыть задвижку №1.
б) Вызвать слесаря (через НС КТЦ) и, вынув всасывающий шланг, очистить всасывающую сетку или устранить место разрыва – т.е. ликвидировать подсос на шланге или на фланцевых соединениях всасывающей камеры эжектора.
в) Осмотреть и очистить сопло, рассоединив фланец всасывающей камеры.
г) Включить в работу эжектор, обеспечив его нормальную работу, не выше предельно максимальной, т.е. чтобы по мановакуумметру было разрежение, а не давление, в противном случае инжектирующая вода будет сбрасываться через всас инжектора в приямок.
8. Эксплуатация системы технического водоснабжения ТЭЦ-3.
8.1. Эксплуатация напорных и сливных водоводов, вывод в ремонт.
8.1.1 Эксплуатация напорных и сливных водоводов сводится к необходимости:
регулярного обхода трасс и своевременного выявления течей и порывов, вызывающих большие потери и снижение расхода циркуляционной воды подаваемой на конденсаторы турбин, а также вывод их в ремонт.
8.1.2 Обходы трасс подземных водоводов на поверхности производятся в основном в летний период, когда можно с достаточной точностью определить даже небольшие течи воды.
8.1.3 Внутри здания ОНС, как правило, необходимо обращать внимание не только на сами циркуляционные водоводы, но и на арматуру, установленную на них, на предмет обнаружения всевозможных течей, неплотностей сальниковой набивки, целостности электроприводов арматуры, наличие табличек обозначения на штурвалах управления арматурой и всех других возможных дефектов.
Уважаемый посетитель!
Чтобы распечатать файл, скачайте его (в формате Word).
Ссылка на скачивание - внизу страницы.