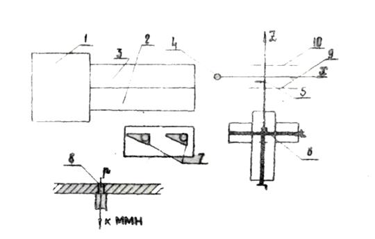
Поток воздуха от вентилятора 1 /рис.3/ из сопла 3 натекает на круглый цилиндр 4. Для измерения давления в корпусе цилиндра имеется отверстие 8. Для измерения скорости служит трубка Прандтля 5, укреплённая на координатнике 6. Давление на поверхности цилиндра измеряется с помощью отверстия 8. Давление и разность давлений измеряется с помощью микроманометра 7.

Рис. 3 Схема установки:
1 – вентилятор, 2,3 – сопла, 4 – цилиндр, 5 – трубка Прандтля, 6 – координатник, 7-микроманометр, 8-отверстие для измерения давления, 9,10 – положение трубки Прандтля в начале и конце опыта.
Измерение скорости и давления
Измерение скорости и давления производится с помощью трубки Прандтля и микроманометра ММН. Методика измерения изложена в указаниях к работе № 16.
| 
 | 

В формуле /12/
учтено, что  , и что давление на поверхности
цилиндра может быть как больше, так и меньше атмосферного давления
, и что давление на поверхности
цилиндра может быть как больше, так и меньше атмосферного давления  .
.
Расчётные
формулы для  и
и  при
обтекании кругового цилиндра.
 при
обтекании кругового цилиндра.
В работе
измерение распределения давления и скорости производится при постоянном угле
наклона трубки микроманометра. Поэтому постоянные М и А в /12/  и формуле
работы №16 /21/ одинаковые для всех измерений. В лобовой точке цилиндра / =0/
=0/
| 
 | 
| 
 | 

Уважаемый посетитель!
Чтобы распечатать файл, скачайте его (в формате Word).
Ссылка на скачивание - внизу страницы.