Оценка прочности и устойчивости грунтов. Определение сопротивления сдвигу глинистых грунтов и построение графиков сдвига

Страницы работы

11 страниц (Word-файл)

Фрагмент текста работы

Дисциплина:  МЕХАНИКА ГРУНТОВ

Раздел:  ОЦЕНКА ПРОЧНОСТИ И УСТОЙЧИВОСТИ ГРУНТОВ 

Практическое занятие № 2

ОПРЕДЕЛЕНИЕ СОПРОТИВЛЕНИЯ СДВИГУ ГЛИНИСТЫХ ГРУНТОВ И ПОСТРОЕНИЕ ГРАФИКОВ СДВИГА

Теоретические основы

Сопротивление сдвигу является показателем прочности грунта. У глинистых грунтов сопротивление сдвигу характеризуется удельным сцеплением С (ординатой графика сдвига при абсциссе, равной нулю) и углом внутреннего трения φ (углом наклона графика сдвига к горизонтальной оси). Характеристики прочности грунта на сдвиг С и φ используются при определении несущей способности оснований сооружений, в расчетах устойчивости грунтовых откосов, при определении давлений грунта на ограждающие конструкции (подпорные и шпунтовые стенки, устои мостов и т.п.) и в некоторых других расчетах.

Сопротивление сдвигу глинистого грунта не является постоянным, оно зависит от его влажности, плотности сухого грунта, напряженного состояния и характера его изменения, окружающих условий и других факторов.

Определяемые в лабораторных условиях характеристики прочности грунта на сдвиг С и φ зависят от метода, режима и методики испытаний.

Испытания проводятся с помощью спецоборудования, например прибора прямого среза  (прибор одноплоскостного среза с подвижной верхней кареткой) в режиме контроля за напряжениями по методике медленного среза уплотненных образцов.

Режим испытаний с контролем за напряжениями заключается в том, что образец грунта в приборе ступенями нагружается заданными сдвигающими напряжениями, значения которых заранее известны.

При испытании по методике медленного среза уплотненных образцов каждый образец в условиях двухстороннего дренирования предварительно уплотняется заданным нормальным давлением до прекращения деформаций (до стабилизации). После чего он при том же нормальном давлении срезается в приборе путем медленного приложения сдвигающей нагрузки. В этой методике несколько групп образцов уплотняются и срезаются при разных значениях нормальных давлений. Дублирование испытаний при каждом нормальном давлении необходимо, чтобы выявить влияние неоднородности грунта на его прочность, учесть влияние различных случайных ошибок испытаний. Влияние этих факторов устанавливается статической обработкой результатов испытаний.

Описание оборудования

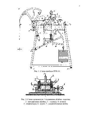
Прибор типа ГГП-30 (рис. 1) позволяет осуществлять сдвиг в двух вариантах: путем приложения к срезывающему устройству независимого (внешнего) сдвигающего усилия и путем наклона срезывающего устройства, расположенного на подвижной панели. Прибор устроен по принципу одноплоскостного сдвига. При этом плоскость сдвига не является строго фиксированной, что достигается особым устройством срезывателя (рис. 2), имеющего нижнюю подвижную и верхнюю подвижную обоймы, и двух нагрузочных устройств для передачи вертикальной (нормальной

Информация о работе